[9+] Intertel Standard Digital Terminal Manual, Intertel, About Intertel

Intertel Standard Digital Terminal Manual Axxess Speakerphone

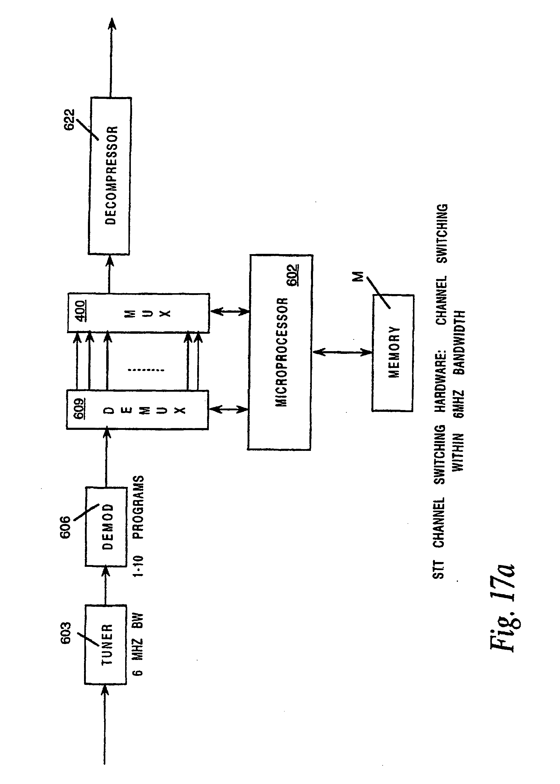
Patent us8019592

Mitel unit control inter expansion tel modules. Intercom tst portadial interfaces. Patents claims. Patentsuche ansprüche

Intercom 5A-12 TST • PortaDial

Intercom 5A-12 TST • PortaDial

Inter-Tel 550.4400 Axxess Standard Analog Speakerphone 636941485073 | eBay

Inter-Tel 550.4400 Axxess Standard Analog Speakerphone 636941485073 | eBay

Operator Interface Terminals - Silver Series Operator Interface Terminals

Operator Interface Terminals - Silver Series Operator Interface Terminals

Patent US8019592 - Information terminal device and method for

Patent US8019592 - Information terminal device and method for

Mitel 3000 Control Unit

Mitel 3000 Control Unit

Komentar

Postingan Populer